消防接口技术条件 GB12514-2026
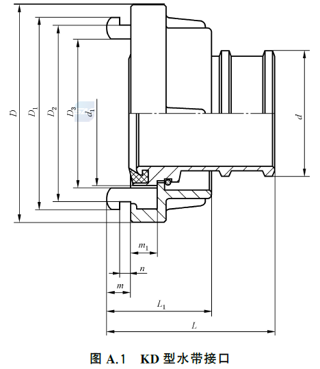
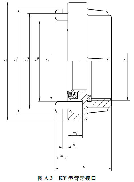
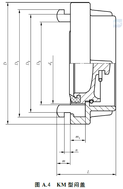
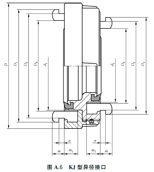
附录A(规范性) 内扣式接口结构
内扣式接口的结构应符合图A.1~图A.9的规定。

















目录
返回
上节
下节
- 上一节:10 包装和贮存
- 下一节:附录B(规范性) 卡式接口结构
